索尼新专利:再也不用担心卡关 或于PS6实装
2026-01-01 12:12:12 来源: 游民星空 作者:浮梦万物皆虚
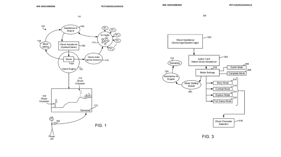
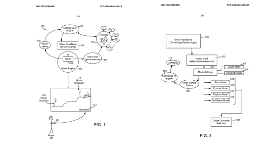
索尼申请了一项关于 AI“幽灵” 的专利,该AI能够通过分析已录制的玩家游戏片段进行学习,从而知道如何通关关卡和完成任务。
索尼概述了一项可能用于系统级AI的应用场景,或许将在次世代PS6上实现。索尼正与AMD紧密合作,在芯片级AI功能领域寻求重大突破,其中包括高级的PlayStation光谱超级分辨率(PSSR)画面增强技术。这些专利可以让我们从最终用户的角度,对PS6这类产品可能带来的体验有所预期。
这项AI“幽灵”专利并不仅限于描述一种场景,而是涵盖了多种基于同一核心理念的情况:如果玩家在游戏中卡关时,能够召唤屏幕上的“幽灵”来帮助他们,会怎么样? 索尼的专利解释了这将如何运作:该专利依赖于一个“AI辅助引擎”,该引擎将基于玩家游戏录像进行“训练”。微软也正在采用类似的方法来训练其MUSE AI生成器技术。
游民老哥们,假如你在玩游戏时卡关,会怎样处理呢?
本文由游民星空制作发布,未经允许禁止转载。
热点资讯


