再也不怕卡关了!索尼新专利直接让AI教你玩
2026-01-01 12:27:46 来源: 游民星空 作者:寒雨未央
据Tweaktown报道,索尼近日提交了一项关于所谓“AI生成幽灵玩家”的专利申请,这项技术在理论上可以为玩家提供游戏内的技巧与提示,帮助他们通关。
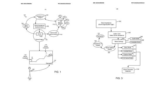
根据专利内容,索尼提出了一种AI“幽灵”系统:这些幽灵可以通过学习玩家的游玩录像进行训练,从而掌握如何通关关卡、完成任务。这项AI幽灵专利并非只描述单一使用场景,而是提出了多种可能性,但核心思路一致:如果玩家在游戏中卡关,是否可以召唤一个出现在画面中的“幽灵”,来协助他们?
专利中解释了该系统的运作方式,其基础是一套“AI辅助引擎”,通过分析和学习玩家的实际游玩录像来进行训练。该专利指出,虽然玩家可以上网搜索攻略,现有的部分游戏也引入了可供玩家跟随模仿的角色,但这些方法往往只针对一般性场景,不具备特殊性,而且不了解玩家当前正在进行的具体内容,无法理解玩家此刻的游戏前后情况。
而该专利的AI模型通过学习游戏的游玩录像进行训练,以识别不同的游戏情境,并掌握推动游戏进程所需的交互方式。在玩家进行实时游玩时,系统会分析游戏状态数据,以识别当前玩家所处的具体游戏情境。
随后,实时游玩中出现的情境会被送入AI模型与辅助AI引擎进行处理,从而为幽灵角色生成相应的控制输入,用于动画和操作,引导玩家进行与当前情境相关的正确交互。这种交互指导是基于玩家当前的游戏上下文,而不是简单复现他人的过往玩法。
因此,在游戏过程中,幽灵角色可以由辅助AI引擎进行控制,通过直观的视觉演示,向玩家展示特定游戏情境下的正确玩法,帮助玩家操控的角色顺利推进游戏进程。
不过需要强调的是,这毕竟只是专利文件,并不意味着这项技术一定会在最终产品中真正实装。
你如何评价这一技术?如果能够实现,它能真的帮到玩家吗?会不会破坏原本的游戏体验?你有没有在游戏里卡关,搜遍全网也找不到攻略的窘境时刻?欢迎在评论区分享你的想法和经历!
本文由游民星空制作发布,未经允许禁止转载。




