米哈游UE5新作中文名定了?《雨雾之都》即将来临
2026-01-15 20:57:54 来源: 游民星空 作者:猛鲨男鱼王
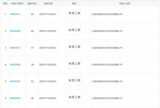
2026年1月15日,有博主发现,米哈游子公司近日密集申请了20多个“雨雾之都”相关商标。普遍认为,这正是该款基于虚幻引擎5(UE5)开发的重量级IP《Varsapura》的正式中文名称。
此前,外界曾一度猜测该作会采用直译的“雨之城”,但现在看来,“雨雾之都”显然更具文学意境和辨识度。
目前,这批商标正处于实质审查阶段。结合之前已经流出的UE5实机演示画面,可以说米哈游对这款新IP的筹备已经进入了冲刺期,接下来要等的就是版号到位,或许今年有望迎来开启首测。
对于米哈游新作定名为《雨雾之都》,你的第一直觉是?你对本作有何期待?评论区聊聊吧。
本文由游民星空制作发布,未经允许禁止转载。
更多相关资讯请关注:雨之城专区
热点资讯
- 1 法国画师将《光与影:33号远征队》重绘为HD-2D风格 致敬《八方旅人》等经典作品
- 2 B友买UP主整机遭《三角洲》机器码封禁!被客服气疯
- 3 女子住酒店拉开窗帘竟是泳池 惊现游泳男子
- 4 《崩坏:星穹铁道》硬件性能要求提高!低于要求稳定性变差
- 5 付费解锁发言权?国产二游《尘白禁区》299元线下活动引争议!
- 6 《海贼王》“越界”争议后 《咒术回战》悄然改写福利桥段的未来格局
- 7 《光与影》年度最佳还不够!玩家热议:十年最佳
- 8 马斯克引领“比基尼换装”风潮惹争议 xAI 承认 Grok 修图功能遭滥用
- 9 马斯克亲试AI"比基尼"辣照!Grok换装功能玩坏了!
- 10 美颜太狠了!LOL世界冠军TheShy带货首秀



